【安全圈】俄罗斯黑客组织 Romcom 利用 0day 漏洞攻击 Firefox、Tor 用户

【安全圈】俄罗斯黑客组织 Romcom 利用 0day 漏洞攻击 Firefox、Tor 用户

安全圈 2024-11-29 11:01

关键词

黑客

一个俄罗斯黑客组织Romcom利用两个此前未知的漏洞攻击 Windows PC 上的 Firefox 和 Tor 浏览器用户。

防病毒提供商 ESET 将该攻击描述为潜在的“大规模活动”,其目标是欧洲和北美的用户。

俄罗斯黑客通过一个恶意网页传播黑客攻击,这些网页似乎伪装成虚假新闻机构。如果易受攻击的浏览器访问该页面,它可以秘密触发软件漏洞,在受害者的电脑上安装后门。

ESET 警告称,用户无需与该网页进行任何交互。

目前尚不清楚黑客如何传播恶意网页链接。但第一个漏洞(称为CVE-2024-9680)可导致 Firefox 和 Tor 浏览器在正常受限制的进程中运行恶意代码。

黑客利用 Windows 10 和 11 中的第二个漏洞(称为CVE-2024-49039)发动攻击,以便在浏览器之外和操作系统上执行更多恶意代码。秘密下载并安装一个能够监视 PC 的后门,包括收集文件、截屏以及窃取浏览器 cookie 和保存的密码。

Mozilla、Tor 和 Microsoft 都已修补了漏洞。Tor 浏览器基于 Firefox。Mozilla 于 10 月 8 日私下报告了此问题,这两款浏览器都在第二天修补了此漏洞。与此同时,Microsoft于 11 月 12 日修补了另一个漏洞。

如果用户未能及时打补丁,黑客仍可继续利用该攻击。ESET 提供的遥测数据显示,某些国家可能有多达 250 名用户遭遇过该攻击,攻击始于 10 月,甚至可能更早。

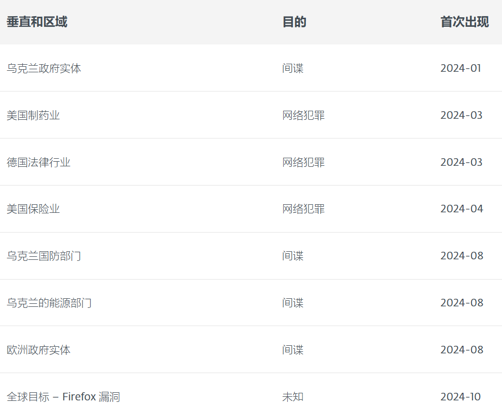
ESET将这些攻击与一个名为“RomCom”的俄罗斯黑客组织联系起来,该组织一直专注于网络犯罪和间谍活动。

ESET追踪了该组织一系列的攻击活动:

将两个0day漏洞串联起来,RomCom 便可以利用无需用户交互的漏洞进行攻击。这种复杂程度表明威胁组织有意愿并有手段获得或开发隐身能力。

详细技术报告:

https://www.welivesecurity.com/en/eset-research/romcom-exploits-firefox-and-windows-zero-days-in-the-wild/

Mzoilla官方漏洞公告:

Behind the Scenes: Fixing an In-the-Wild Firefox Exploit

END  

阅读推荐

【安全圈】实习生向模型投毒事件后续:字节跳动起诉该实习生索赔800万元

【安全圈】国际执法机构成功捣毁一个盗版视频网站,月收入高达2.5亿欧元(约合人民币19.12亿元)

【安全圈】微软可能窃取你的Word、Excel文件以训练人工智能模型?

【安全圈】Bootkitty——首个针对Linux的UEFI引导程序恶意软件

安全圈

←扫码关注我们

网罗圈内热点 专注网络安全

实时资讯一手掌握!

好看你就分享 有用就点个赞

支持「安全圈」就点个三连吧!