实战-关于KEY泄露API接口利用

实战-关于KEY泄露API接口利用

和 神农Sec 2024-12-19 01:00

扫码加圈子

获内部资料

网络安全领域各种资源,学习文档,以及工具分享、前沿信息分享、POC、EXP分享。
不定期分享各种好玩的项目及好用的工具,欢迎关注。

原文链接:https://zone.huoxian.cn/d/2909-keyapi

作者:和


0x1 前言

最近做项目遇见的各个平台的Key泄露的比较多,正好总结一下关于API接口利用的内容分享一下。


0x2 微信公众号泄露AppID+AppSecert利用

前期通过打点获取到的数据库,互联网连接mysql发现了多个公众号AppID和AppSecert。

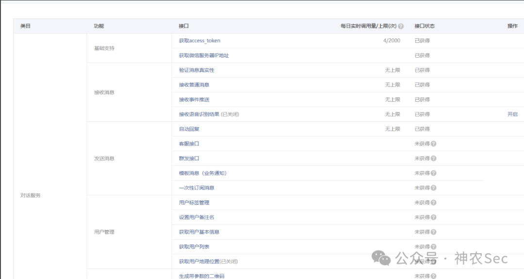
这里查询微信公众号的接口权限

默认的接口权限未认证用户都是很基础的。利用微信公众号接口调试工具

测试下载文件接口

测试上传文件接口

AccessToken泄露

在某些路径泄露的时候可能会直接获取到外带的AccessToken,虽然AccessToken的时效性最长不超过两个小时,一般失效型都在一个多小时,利用泄露的AccessToken可直接调用

利用难度
  • 目前关于AccessToken的获取时效性两小时,利用AppID和AppSecert获取AccessToken有白名单限制,但是在实际利用获取AccessToken的时候除了测试环境,目前真实环境我还没遇到过关于非白名单获取失败的报错,测试的时候发现反而限制的比较死。

  • 再利用微信公众平台泄露的key时,已认证的微信公众平台可调用的接口是比较多的,例如:用户管理等。未认证的账号一般仅有基础接口可调用


0x3 程序Appid+AppSecert泄露

小程序接口Web.rar
泄露的文件中发现了三个小程序的Appid+AppSecert

利用API接口获取设备型号

调用接口获取用户id


0x4 德地图ApiKey利用

JS文件信息泄露了高德的ApiKey

python脚本实现调用APIKey查询周边兴趣点

# -*- coding: utf-8 -*-
import requests
import json
def search_poi(api_key, keyword, city="全国"):
    url = f"https://restapi.amap.com/v3/place/text?key={api_key}&keywords={keyword}&city={city}"
    response = requests.get(url)
    result = response.json()
    if result['status'] == '1':
        pois = result['pois']
        for poi in pois:
            name = poi['name']
            location = poi['location']
            print(f"Name: {name}, Location: {location}")
    else:
        print("POI Search failed:", result['info'])
def search_place(api_key, keywords, city='北京'):
    base_url = 'https://restapi.amap.com/v3/place/text'
    params = {
        'key': api_key,
        'keywords': keywords,
        'city': city,
        'output': 'json'
    }
    response = requests.get(base_url, params=params)
    data = response.json()
    return data
def search_route(api_key, origin, destination, city='北京', mode='driving'):
    base_url = 'https://restapi.amap.com/v3/direction/' + mode
    params = {
        'key': api_key,
        'origin': origin,
        'destination': destination,
        'city': city,
        'output': 'json'
    }
    response = requests.get(base_url, params=params)
    data = response.json()
    return data
def search_geocode(api_key, address, city='北京'):
    base_url = 'https://restapi.amap.com/v3/geocode/geo'
    params = {
        'key': api_key,
        'address': address,
        'city': city,
        'output': 'json'
    }
    response = requests.get(base_url, params=params)
    data = response.json()
    return data
if __name__ == "__main__":
    api_key = input("请输入你的高德Web服务API Key: ")
    address1 = input("请输入你的起始地址: ")
    address2 = input("请输入你的目的地址: ")
    data1 = search_geocode(api_key, address1)
    geocodes1 = data1.get('geocodes', [])
    location1 = 'N/A'
    for geocode in geocodes1:
        location1 = geocode.get('location', 'N/A')
        print(f"起始地址: {address1}, 经纬度: {location1}")
    data2 = search_geocode(api_key, address2)
    geocodes2 = data2.get('geocodes', [])
    location2 = 'N/A'
    for geocode in geocodes2:
        location2 = geocode.get('location', 'N/A')
        print(f"目的地址: {address2}, 经纬度: {location2}")
    data = search_route(api_key, location1, location2)
    route = data.get('route', {})
    path = route.get('paths', [{}])[0]
    distance = path.get('distance', 'N/A')
    duration = path.get('duration', 'N/A')
    print(f"距离: {distance}, 预计时长: {duration}")
    # 示例:POI搜索
    keyword = input("请输入关键词进行POI搜索:")
    search_poi(api_key, keyword)

路径规划、POI搜索

查询经纬度

import requests
def get_geocode(api_key, address, city='北京'):
    base_url = 'https://restapi.amap.com/v3/geocode/geo'
    params = {
        'key': api_key,
        'address': address,
        'city': city,
        'output': 'json'
    }
    response = requests.get(base_url, params=params)
    data = response.json()
    return data
if __name__ == "__main__":
    api_key = input("请输入你的高德Web服务API Key: ")
    while True:
        address = input("请输入你想要查询经纬度的地址(输入exit退出): ")
        if address.lower() == "exit":
            break
        data = get_geocode(api_key, address)
        geocodes = data.get('geocodes', [])
        if geocodes:
            for geocode in geocodes:
                location = geocode.get('location', 'N/A')
                print(f"地址: {address}, 经纬度: {location}")
        else:
            print("未找到该地址,请重新输入。")

地址编码

关于高德ApiKey的泄露风险,普通用户的高德额度调用量是有限制的,当key泄露之后,可以高频次调用,导致产生大量的额外费用。

可以根据高德的付费要求,单接口的流量包都是费用如下,提供的接口越多,费用随之升高,泄露的风险就是可能造成资源浪费。

利用难度
  • 无白名单机制限制,利用难度低

  • 危害程度除资源消耗无其它影响。


0x5 百度地图Apikey利用

这里直接测试的地址检索

# -*- coding: utf-8 -*-
import requests
def place_search(query, region, api_key):
    url = f"http://api.map.baidu.com/place/v2/search?query={query}&region={region}&output=json&ak={api_key}"
    response = requests.get(url)
    try:
        response.raise_for_status()  # 检查请求是否成功
        data = response.json()
        if data["status"] == 0:
            results = data["results"]
            for idx, result in enumerate(results, start=1):
                print(f"{idx}. {result['name']}: {result['address']}")
        else:
            print("地点检索失败:", data["message"])
    except requests.exceptions.RequestException as e:
        print("请求错误:", e)
def main():
    query = input("请输入要搜索的地点关键词:")
    region = input("请输入搜索的区域(如城市名称):")
    api_key = input("请输入百度地图开放平台的 API Key:")
    place_search(query, region, api_key)
if __name__ == "__main__":
    main()

检索关键字


0x6 OSS存储桶AK/SK泄露

接上一次的红队,信息搜集的时候发现这家关联单位的存储桶泄露的AK/SK。

入口:web系统弱口令,发现配置文件脱敏

继续搜集应用功能发现泄露了Git的账号密码

git登录拉取文件

找到AK和SK

除了带锁的无法访问,存储桶内数据共计800G+


0x7 总结

公众号的测试+小程序的api调用认证用户的高级接口和存储桶的利用危害是最直观的,地图的API泄露一般只会产生经济效益。

我们是神农安全,
点赞 + 在看
 铁铁们点起来,最后祝大家都能心想事成、发大财、行大运。

内部圈子介绍

圈子专注于更新src相关:

1、维护更新src专项漏洞知识库,包含原理、挖掘技巧、实战案例
2、分享src优质视频课程
3、分享src挖掘技巧tips
4、微信小群一起挖洞
5、不定期有众测、渗透测试项目

欢迎加入星球一起交流,券后价仅40元!!! 即将满200人涨价

长期更新,更多的0day/1day漏洞POC/EXP