学习干货|玄机应急响应-网站被黑客0day攻击如何溯源应急(文末邀请码)

学习干货|玄机应急响应-网站被黑客0day攻击如何溯源应急(文末邀请码)

信安404 2024-04-24 13:55

0x01 前言

环境提供:知攻善防实验室

https://mp.weixin.qq.com/s/5ibP6E8R-GPtOEJeFK8qZA

环境背景:应急响应工程师小王收到安全设备警告,服务器设备被植入木马病毒,需进行上机排查

注:此处环境原作者未做攻击者具体步骤,原WP直接上帝视角给出的答案,对于初学者可能不太理解,以下我将按照我的思路去写,如果思路不对,烦请原作者改正

文末抽取邀请码、转发点赞等邀请好友增加中奖率,基本人人可得

关于邀请码只有三种方式可得:

1. 公众号进行抽奖活动获取(不定时)
2. 官方微信、Q群内不定时发放(拼手速)
3. 投稿应急响应相关镜像及WP(解题思路)
    可申请定制邀请码并送金币

相关规则查看如下文章:关于玄机应急响应平台公开须知

适用于安全运维、网络运维、安全服务及在校学生练习、赛前练习(环境嵌入了各地、各官方比赛的大部分应急响应镜像)、包括日常应急处置环境、个人灵活制作环境

*** 文章仅用于参考学习、禁止恶意利用传播非法行为**

0x02 题目详情

此环境围绕西湖论剑PHPEMS复现,环境作者投稿没有说明,这是后面找到相关文章并进行的最新总结(非上帝视角)

https://mp.weixin.qq.com/s/P7akQHPp4saCl16E0Kw4tA
1. 分析黑客的 IP 为多少,将黑客 IP 作为 FLAG 提交;
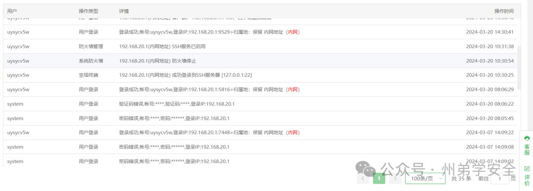
答: 192.168.20.1

首先使用netstat查看本地端口开放情况,ps -ef看到是安装宝塔的****

端口8821为被攻击网站端口、端口12485为宝塔端口,输入BT后修改密码然后输入14查看面板信息

查看宝塔WEB日志、可以看到日志192.168.20.1一直在进行疑似扫描操作

实际上查看操作日志,这个IP是网关地址哈(因为是环境作者模拟复现的)

2. 分析黑客修改的管理员密码(明文)为多少
答:Network@2020

在宝塔面板中点击 数据库-phpmyadmin访问,接着登录后查看库名”kaoshi”

因为题目为用户名被修改,所以查看x2_user表(可视化中没有这张表),所以需要select * from x2_user去查询(此处是西湖论剑0day,反序列化漏洞)

将查询到的admin(管理员)的密码进行MD5解密后,看到被修改的密码为Network@2020

3. 分析黑客第一次Webshell的连接URL为多少,将黑客第一次Webshell的连接URL作为 FLAG 提交
答:index.php?user-app-register

访问端口8821就是这个业务网站的地址,这里在之前拿到了管理员密码,直接登录后台,写入的webshell
会进行序列化存储到数据库,在获取模板模式的数据的过程中,blockcontent会被反序列化并将内容赋值给 app/content/cls/api.cls.php中的$tp 最后在进入eval执行了代码

存入数据库后,调用位置为注册模板ID为1的地方,即为index.php?user-app-register,

而namespace t是命名空间的声明,防止不同库之间冲突

data/compile/content/tpls/master/_cpl_blocks_xxx.php

这里是后端程序,负责接收前端来的执行操作

然后在
data/html/content/tpls/master/blocks_xxx.html
是前端页面,向用户展现的页面
前端执行向后端发送请求后,后端接收请求并序列化存储数据到数据库
然后相关标签根据ID调用,达到RCE目的

4. 分析黑客Webshell连接密码多少,将黑客Webshell连接密码
答:Network@2020

这个比较清晰了,攻击者将webshell写入到此处,此功能路由到注册标签,然后在连接的时候执行index.php?user-app-register POST Network2020

5. 审计流量包,找到第一个flag文件中内容
答: flag1{Network@_2020_Hack}

这里环境作者把流量包放到了root目录下:数据包1.pcapng

这里使用宝塔直接在根目录下的root目录下载就行,既然给出的题目是上传的文件,直接缩小了范围了,http协议,然后先过滤掉404等状态码或者匹配200状态码

搜索流量包并过滤指定状态码 http.response.code == 200 依次遍历流量后看到flag文件

6. 分析黑客使用的后续上传的木马文件名称为多少,将黑客使用的后续上传的木马文件名称 作为 FLAG 提交
答:version2.php

因为后台传的webshell是路由到注册页面的,所以路径register的特征是蚁剑,接着往下审计流量,看到version2.php流量,请求体内容为加密

首先依次判断一下上下请求,第一二请求一般都是GET,因为冰蝎流量会有一个密钥协商过程,当然冰蝎3以后这个过程没了,但是一些特征还是存在

在冰蝎3之前呢大概是这个流程
1. 冰蝎请求服务端,服务端收到请求后生成一个128位随机数
2. 服务端将这个随机数写入session,并且返回给客户端(冰蝎)
3. 此时这个不作为执行key使用,而是不断复用以上方法,直到满足特定条件
  以上过程有种shiro反序列化特征
4. 直到满足条件后客户端(冰蝎才会确定这是最终key)
   客户端保存key至本地作为通信密钥,而服务端则在响应包内set-cookie显示
5. 以上不断GET就是在匹配密钥过程,POST则为确定key以后执行命令过程
执行流程:
6. 服务器生成一个MD5的16位数作为密钥,客户端去匹配
7. 匹配成功后,客户端将预执行命令利用AES/XOR加密发送至服务端
8. 服务端接收后对相关加密请求进行解密,然后将执行结果加密后返回至客户端

这里上传冰蝎webshell是这个CMS有一个非预期反序列化文件上传漏洞,这里只是验证漏洞的过程

7. 分析黑客隐藏的flag2,将黑客使隐藏的flag2 作为 FLAG 提交
答:flag{bL5Frin6JVwVw7tJBdqXlHCMVpAenXI9In9}

这个题其实比较生硬的,它不是shell无法使用工具查找,假如没有特征的情况下,只能挨个去翻代码,而且没说这个flag2是在系统内还是在php文件内,没有上帝视角比较难做

在原WP中flag2在 /www/wwwroot/127.0.0.1/.api/alinotify.php 文件

当然了使用grep -rn是可以遍历到的

8. 分析黑客隐藏的flag3,将黑客使隐藏的flag3 作为 FLAG 提交
答:flag{5LourqoFt5d2zyOVUoVPJbOmeVmoKgcy6OZ}

这个题目正常来说,在真实环境可能会遇到,本来我的思路是,他可能会在用户密码文件内,或者是ssh私钥文件或者是crontab文件,结果都没有,我看了眼WP,是在env的环境变量里面

其实这一块也没什么毛病,在实战中,攻击者可能会修改环境变量达到劫持命令来进行命令执行

举例说明:
假设攻击者想要在受害者的机器上执行一个恶意脚本 malicious.sh,并且希望当受害者执行 ls 命令时,该脚本被执行。攻击者可以这样操作:
将 malicious.sh 放置在一个常见的目录,比如 /usr/local/bin。
通过某种方式(如钓鱼邮件、网站漏洞等)获得修改受害者环境变量的权限。
修改受害者的 PATH 环境变量,将 /usr/local/bin 放在最前面,这样当执行 ls 命令时,系统会首先查找 /usr/local/bin 目录下的 ls。
将 malicious.sh 命名为 ls 并设置为可执行。
当受害者执行 ls 命令时,实际上是执行了攻击者放置的 malicious.sh 脚本。

0x03 总结

我这里根据以上过程大概模拟了一下攻击者思路,毕竟学习为了运用实战,不理解的情况下干学没有意义,当然了思路可能和原作者的思路不同,仅为我自己理解,在现实应急的时候,环境千奇百怪,当前练习的环境仅为模拟,当你在实战的时候可以联动起来,然后猜测攻击者的思路,刷完以后不去思考和学习干刷题为了成绩一样,是没有意义的!

1. 黑客先进行了扫描,然后反序列化漏洞更改了管理员密码
2. 修改密码后,根据CMS序列化漏洞,在后台中对前端注册页面写入了路由webshell
3. 攻击者又通过反序列化phar文件上传漏洞,上传了冰蝎马
4. 后续安全管理员可能会进行查杀,所以攻击者植入了隐藏web后门
5. 在系统内,攻击者在变量中植入了恶意命令,进行命令劫持

接下来是玄机邀请码/注册码抽奖环节、点击小程序直达,转发文章点赞来增加中奖率咯!